| Autor |
Nachricht |
|
crimak42
Registriert: So 29. Jun 2014, 08:29 Beiträge: 1310 Wohnort: Waldsolms
|
 Kabelbelegung Innenspiegel (Innenbeleuchtung)
Hallo allerseits, ich fahre ja nun seit Anbeginn mit nem kleinen Aftermarket-Innenspiegel, da mir das Original zu sehr im Sichtfeld war. Jetzt dachte ich mir, ich bastel mit da ans Kabel des Spiegels auch mal ne alternative Innenbeleuchtung. Hätte gedacht, da oben kommen 3 Litzen an - Masse, Dauerplus und 'Plus wenn Tür auf'. Hiermit scheine ich mich geirrt zu haben. Masse ja, aber die beiden anderen Litzen liefern scheinbar dauernd Plus. Zumindest war auf beiden 12 Volt zu messen auch wenn das Fußraumlicht bereits wieder erloschen war. Hab ich falsch gemessen? Oder kann mir jemand erklären wie die Belegung funktioniert? Wollte egtl einfach Lampen an Masse und 'Plus wenn Tür auf' hängen und fertig - oder ist's doch komplizierter? Bin für jeden Hinweis dankbar 
_________________ Beste Grüße,
Christian
---- MGF 1.8i VVC MKI ('96) BRG (HAM) - Montag 7. Oktober 1996 MGF 1.8i MPI MKI ('98) BRG (HFF) - Donnerstag 29. Oktober 1998 MG TF 135 Spark ('04) XPower Grey (LEF) - Mittwoch 20. Oktober 2004
|
| Di 14. Jul 2015, 18:48 |
|
 |
|
xpower
Registriert: Do 14. Mai 2009, 15:02 Beiträge: 4990
|
 Re: Kabelbelegung Innenspiegel (Innenbeleuchtung)
ne gedanke war eigentlich richtig
|
| Di 14. Jul 2015, 18:57 |
|
 |
|
crimak42
Registriert: So 29. Jun 2014, 08:29 Beiträge: 1310 Wohnort: Waldsolms
|
 Re: Kabelbelegung Innenspiegel (Innenbeleuchtung)
Danke - immerhin -- erlischt das Licht am Spiegel denn erst nach dem im Fußraum? Muss vielleicht einfach nochmal den original Spiegel dranhängen um der Sache auf den Grund zu gehen...
_________________ Beste Grüße,
Christian
---- MGF 1.8i VVC MKI ('96) BRG (HAM) - Montag 7. Oktober 1996 MGF 1.8i MPI MKI ('98) BRG (HFF) - Donnerstag 29. Oktober 1998 MG TF 135 Spark ('04) XPower Grey (LEF) - Mittwoch 20. Oktober 2004
|
| Di 14. Jul 2015, 20:28 |
|
 |
|
xpower
Registriert: Do 14. Mai 2009, 15:02 Beiträge: 4990
|
 Re: Kabelbelegung Innenspiegel (Innenbeleuchtung)
hab bei meinem ZR die Kabel an der originalen Innenraumleuchte angeklemmt und da kam auch nur Masse, Dauerplus und Türkontakt an... frag mich aber nicht mehr welche Kabelfarbe was war 
|
| Di 14. Jul 2015, 20:39 |
|
 |
|
crimak42
Registriert: So 29. Jun 2014, 08:29 Beiträge: 1310 Wohnort: Waldsolms
|
 Re: Kabelbelegung Innenspiegel (Innenbeleuchtung)
Hm... Dann sollte es beim F ja auch so sein..... Dann geh ich gelegentlich wohl noch mal messen 
_________________ Beste Grüße,
Christian
---- MGF 1.8i VVC MKI ('96) BRG (HAM) - Montag 7. Oktober 1996 MGF 1.8i MPI MKI ('98) BRG (HFF) - Donnerstag 29. Oktober 1998 MG TF 135 Spark ('04) XPower Grey (LEF) - Mittwoch 20. Oktober 2004
|
| Di 14. Jul 2015, 20:50 |
|
 |
|
Reinheit
Registriert: Fr 31. Mai 2013, 02:11 Beiträge: 804 Wohnort: Nasses Dreieck
|
 Re: Kabelbelegung Innenspiegel (Innenbeleuchtung)
Ich oute mich mal als verwirrt. In meinen verschiedenen Autos hatte die Innenleuchte immer Dauerplus, und der manuelle Einschalter sowie der/die Türkontakt(e) schalteten gegen Masse. Ist das bei MG anders?
_________________ Ich hab jeden Tag Ostern. Irgendwas such ich immer.
|
| Do 16. Jul 2015, 00:48 |
|
 |
|
crimak42
Registriert: So 29. Jun 2014, 08:29 Beiträge: 1310 Wohnort: Waldsolms
|
 Re: Kabelbelegung Innenspiegel (Innenbeleuchtung)
Hm... Das könnte ein Hinweis sein 
_________________ Beste Grüße,
Christian
---- MGF 1.8i VVC MKI ('96) BRG (HAM) - Montag 7. Oktober 1996 MGF 1.8i MPI MKI ('98) BRG (HFF) - Donnerstag 29. Oktober 1998 MG TF 135 Spark ('04) XPower Grey (LEF) - Mittwoch 20. Oktober 2004
|
| Do 16. Jul 2015, 06:14 |
|
 |
|
xpower
Registriert: Do 14. Mai 2009, 15:02 Beiträge: 4990
|
 Re: Kabelbelegung Innenspiegel (Innenbeleuchtung)
Eigentlich ist es ja egal ob es einmal plus und Dauermasse und geschaltene Masse ist Oder Masse und Dauerplus und geschaltenes Plus
Klappt nur nicht wenn LED verbaut sind
|
| Do 16. Jul 2015, 08:27 |
|
 |
|
Reinheit
Registriert: Fr 31. Mai 2013, 02:11 Beiträge: 804 Wohnort: Nasses Dreieck
|
 Re: Kabelbelegung Innenspiegel (Innenbeleuchtung)
xpower hat geschrieben: … Oder Masse und Dauerplus und geschaltenes Plus Dann müsste der Türkontaktschalter aber zweipolig verkabelt sein. Zitat: Klappt nur nicht wenn LED verbaut sind Warum nicht? (Ich weiß es wirklich nicht.)
_________________ Ich hab jeden Tag Ostern. Irgendwas such ich immer.
|
| Do 16. Jul 2015, 12:42 |
|
 |
|
xpower
Registriert: Do 14. Mai 2009, 15:02 Beiträge: 4990
|
 Re: Kabelbelegung Innenspiegel (Innenbeleuchtung)
Da beim MGF der Türkontaktschalter im Schloss ist traue ich denen alles zu Eine LED ist nicht so flexibel wie eine Glühlampe was plus und minus angeht
|
| Do 16. Jul 2015, 12:53 |
|
 |
|
crimak42
Registriert: So 29. Jun 2014, 08:29 Beiträge: 1310 Wohnort: Waldsolms
|
 Re: Kabelbelegung Innenspiegel (Innenbeleuchtung)
Ich hab natürlich LEDs --- please elaborate on this! 
_________________ Beste Grüße,
Christian
---- MGF 1.8i VVC MKI ('96) BRG (HAM) - Montag 7. Oktober 1996 MGF 1.8i MPI MKI ('98) BRG (HFF) - Donnerstag 29. Oktober 1998 MG TF 135 Spark ('04) XPower Grey (LEF) - Mittwoch 20. Oktober 2004
|
| Do 16. Jul 2015, 20:21 |
|
 |
|
rheinkiter
Registriert: Sa 28. Aug 2010, 21:45 Beiträge: 467 Wohnort: Düsseldorf
|
 Re: Kabelbelegung Innenspiegel (Innenbeleuchtung)
Wenn ich den Schaltplan auf Dieters Seite richtig deute, schaltet da nix über Masse. Da die Innenraumbeleuchtung ja auch abdimmt, muss das Signal ja aus irgendeinem Gerät kommen was das kann, und das ist nunmal das Karosseriesteuergerät. Schau Dir die Schaltpläne an. 
_________________ "Woher soll ich wissen was ich denke bevor ich höre was ich sage?" - Marilyn Monroe
Mein F musste leider nem TF weichen.
|
| Do 16. Jul 2015, 23:10 |
|
 |
|
xpower
Registriert: Do 14. Mai 2009, 15:02 Beiträge: 4990
|
 Re: Kabelbelegung Innenspiegel (Innenbeleuchtung)
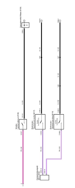
So für alle Mal zum schauen
Dateianhänge:
image.jpg [ 74.47 KiB | 8660-mal betrachtet ]
image.jpg [ 21.7 KiB | 8660-mal betrachtet ]
|
| Fr 17. Jul 2015, 09:32 |
|
 |
|
crimak42
Registriert: So 29. Jun 2014, 08:29 Beiträge: 1310 Wohnort: Waldsolms
|
 Re: Kabelbelegung Innenspiegel (Innenbeleuchtung)
 Danke!
_________________ Beste Grüße,
Christian
---- MGF 1.8i VVC MKI ('96) BRG (HAM) - Montag 7. Oktober 1996 MGF 1.8i MPI MKI ('98) BRG (HFF) - Donnerstag 29. Oktober 1998 MG TF 135 Spark ('04) XPower Grey (LEF) - Mittwoch 20. Oktober 2004
|
| Fr 17. Jul 2015, 10:13 |
|
 |
|
Reinheit
Registriert: Fr 31. Mai 2013, 02:11 Beiträge: 804 Wohnort: Nasses Dreieck
|
 Re: Kabelbelegung Innenspiegel (Innenbeleuchtung)
rheinkiter hat geschrieben: Wenn ich den Schaltplan auf Dieters Seite richtig deute, schaltet da nix über Masse. Da die Innenraumbeleuchtung ja auch abdimmt, muss das Signal ja aus irgendeinem Gerät kommen was das kann, und das ist nunmal das Karosseriesteuergerät. Schau Dir die Schaltpläne an.  Das habe ich getan. Auf meinen schalten die Schalter für die Kartenleselampen gegen Masse. Und das Karosseriesteuergerät tut das vermutlich auch, nur nicht abrupt aus, sondern allmählich (mit steigendem Widerstand?), um die Innenleuchte zu dimmen. Aber ich kann mich irren; irren ist männlich. 
_________________ Ich hab jeden Tag Ostern. Irgendwas such ich immer.
|
| Fr 17. Jul 2015, 13:21 |
|
|